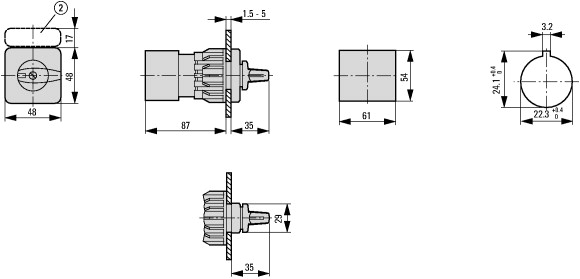
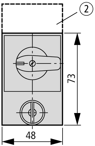
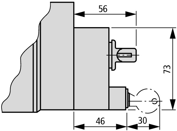
92297 Переключатель включения/выключения, 6-полюсн., 63 A, 90 °, Промежуточный монтаж (T5B-3-8342/Z)
Арт.: 69189
17 220 руб./шт
37 890 руб./шт
Арт.: 67593
20 440 руб./шт
