Полный гид по SFP трансиверам
Оптический приемник, также известный как SFP трансивер или оптический модуль, - это небольшое компактное устройство, которое использует оптоволоконную технологию для передачи и приема данных. Он имеет электронные компоненты, которые формируют и кодируют/декодируют данные в световые импульсы, а затем отправляют их на другой конец в виде электрических сигналов. Предлагаю разобраться в разнообразии их видов и параметров.

Слово «трансивер» сочетает в себе слова «передатчик» и «приемник». Другими словами, оптический приемник обычно состоит из оптического передатчика и оптического приемника, которые объединены в единую схему или в едином корпусе.
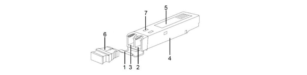
Структура волоконно-оптического приемника
- Задвижка
- Оптический приемник
- Оптический передатчик
- Корпус приемника
- Этикетка
- Пылезащитная заглушка
- Пружина
Принцип действия оптического модуля
Для отправки данных в виде света используется источник света, например, VSCEL, FP, DFB и EML лазер, который контролируется электронными компонентами, а для приема световых импульсов, например, Pin или APD, используется полупроводниковый фотодиод. Типичный SFP+ модуль состоит из корпуса, PCBA, микросхемы и оптического TOSA+ROSA (иногда BOSA для приемника BiDi). Ниже приведена блок-схема работы оптического модуля. Давайте разберем более детально каждый компонент.
В левой части схемы показано устройство, которое использует оптический модуль, например, переключатель. Устройство подает сигнал на оптический модуль, который преобразует электрический сигнал в оптический и отправляет его наружу. Прием - это обратный процесс к отправке.
1. TOSA (передающий оптический узел)
TOSA является основным компонентом модуля оптического передатчика, основная функция которого заключается в преобразовании электрических сигналов в оптические. Их можно классифицировать на SC TOSA, LC TOSA, FC TOSA и ST TOSA в зависимости от типа адаптера. В состав TOSA входят такие элементы, как оптический изолятор, контрольный фотодиод, схема возбуждения LD, термистор, термоэлектрический охладитель, схема автоматического контроля температуры (ATC) и схема автоматического управления мощностью (APT).
Светоизлучающий элемент (полупроводниковый светодиод или лазерный диод) является основой TOSA. Микросхема LD, контрольный фотодиод и другие компоненты заключены в компактную структуру (коаксиальный корпус TO или корпус типа бабочка), формируя TOSA.
В TOSA наиболее часто используемым полупроводниковым излучающим устройством для оптических модулей является лазерный диод LD. У него есть два ключевых параметра: пороговый ток (Ith) и дифференциальный КПД (S). Для быстрого функционирования LD необходимо обеспечить его постоянным током смещения IBIAS, который немного превышает пороговый ток, так что лазер начинает излучать, когда прямой ток превышает пороговый.
Основой TOSA является оптический лазер, который можно разделить на два типа:
- EEL (Edge Emitter Laser): относится к лазерам с краевым излучением с длиной волны 1310 нм или 1550 нм.
- VCSEL (Vertical Cavity Surface Emitting Laser): относится к вертикальному лазеру с поверхностным излучением с длиной волны 850 нм.
2. ROSA (Receiver Optical Sub Assembly - оптический узел приемника)
Основной функцией ROSA является преобразование оптических сигналов в электрические. ROSA представляет собой компонент, принимающий свет. Для оптических модулей с высокой скоростью передачи данных фотодиоды PIN или ADP и TIA обычно собираются в герметичный металлический корпус, формируя наши светоприемные компоненты.
Основной элемент ROSA, фотодетектор, используется для преобразования оптических сигналов в электронные с помощью фотоэлектрического эффекта. В оптической связи обычно применяются фотодиоды PIN и лавинные фотодиоды (APD). APD является высокочувствительным фотодетектором, который использует эффект лавинного умножения для увеличения фототока. По сравнению с PIN-фотодиодами, чувствительность приемников с APD может быть повышена на 6-10 дБ.
3. LDD (Лазерный диодный драйвер)
LDD - это управляющее устройство в оптическом модуле. Он может преобразовать сигнал, исходящий из CDR, в соответствующий сигнал модуляции, который заставляет лазер излучать оптический сигнал. Поскольку оптический лазер сам по себе является токочувствительным устройством, нам нужен LDD для преобразования цифрового сигнала напряжения в сигнал тока. Для разных типов лазеров необходимо выбирать разные типы микросхем LDD. Обычно многомодовые оптические модули короткого диапазона, такие как 100G SR4, LDD и CDR, интегрированы на одной микросхеме.
4. CDR (Синхронизация времени и данных)
CDR выполняет две основные роли: первая - обеспечение тактового сигнала для каждого контура приемника; вторая - оценка принятого сигнала, что удобно для восстановления сигнала данных и дальнейшей обработки. Важнейшая функция CDR - сделать так, чтобы сигнал на приемном конце соответствовал сигналу на передающем конце. Как правило, оптические модули, которые будут использовать CDR, в основном являются высокоскоростными и оптическими модулями на большие расстояния, такими как 10G SFP+ ER или 10G SFP+ ZR.
Типы оптических приемников
Оптические приемники классифицируются на различные типы на основе различных методов и требований. Но в большинстве случаев мы классифицируем их на основе форм-факторов.
Классификация по форм-факторам
По различным форм-факторам они классифицируются на следующие типы:
- Трансиверы 1×9: Как и в названии «1×9», самой заметной особенностью является один заметный ряд из 9 контактов. Большинство производителей перестали использовать трансиверы 1×9 и выбрали более популярные типы, такие как SFP или SFP+.
- GBIC-трансиверы: сокращение от Gigabit Interface Converter, они имеют форм-фактор с возможностью горячего подключения, но из-за внушительных размеров их можно найти лишь на устаревших коммутаторах или устройствах.
- SFF-трансиверы - сокращение от Small Form Factor (малый форм-фактор). Обычно они имеют 2×5 или 2×7 контактов, но они меньше, чем трансиверы 1×9. Обратите внимание, что SFF не поддерживает горячее подключение.
- SFP (mini-GBIC) трансиверы: сокращение от small form pluggable, самый успешный форм-фактор на сегодняшний день. Поэтому это самый популярный тип в индустрии трансиверов. Большинство более поздних трансиверов разработаны на их основе и усовершенствованы до более скоростных и компактных вариантов.
- Трансиверы SFP+: Эти усовершенствованные SFP поддерживают более высокие скорости, такие как 8G и 10G. В большинстве случаев пользователи могут называть их 10G SFP+.
По сравнению с модулем SFP, модуль SFP+ поддерживает более высокую скорость - 8 Гбит/с, 10 Гбит/с и 16 Гбит/с. Кроме того, он также имеет необходимый встроенный DDM/DOM (цифровой оптический монитор) в соответствии со стандартом SFF-8472. В отличие от него, модуль SFP не имеет этой функции.
- Трансиверы XFP: Это расшифровывается как 10-гигабитный подключаемый трансивер малого форм-фактора, а «X» в этом слове означает 10G. Он был недолго известным, прежде чем его быстро заменили на SFP+ из-за его недостатков, таких как значительный форм-фактор и высокое энергопотребление.
- Трансиверы SFP28: Это усовершенствованная версия SFP+, которая поддерживает скорость от 25 до 28 Гбит/с. В основном используется в 25G Ethernet CPRI и центрах обработки данных.
- Трансиверы QSFP: Сокращение от quad small form pluggable, они обеспечивают 4-полосный сигнал для комбинированной скорости 40 Гбит/с.
- QSFP28: Созданные на основе дизайна QSFP, эти трансиверы могут поддерживать скорости 4x25G или 4x28G, что делает их универсальными и мощными инструментами в современных приложениях центров обработки данных.
- CFP трансиверы: Эти трансиверы, определенные в CFP MSA, поддерживают скорость 40G/100G и имеют размеры 82 мм × 13,6 мм × 144,8 мм.
- CFP2 Подобные CFP, но имеют меньшие размеры (41,5 мм × 12,4 мм × 107,5 мм) и меньшее энергопотребление.
- CFP4 выпускается на основе CFP2 для большей плотности и меньшего энергопотребления; стандартный размер 21,5 мм × 9,5 мм × 92 мм.
- CXP - это 120 Гбит/с 12-кратный подключаемый модуль малого форм-фактора; благодаря поддержке 12x10G полос он достигает общей скорости 120 Гбит/с.
- CSFP: Это компактные устройства с малым подключаемым форм-фактором, которые имеют два BOSA в размере SFP и обеспечивают двойную пропускную способность при определенной плотности портов.
Доступно еще много различных форм-факторов трансиверов, например QSFP56, QSFP-DD, OSFP, CDFP, X2, XENPAK, XPAK, SFP56, SFP56-DD, COBO и т.д., но многие из них из мало востребованы и со временем нуждаются в обновлении. Например, большинство производителей перестали поставлять коммутаторы с портами Xpak, X2 и XENPAK вместо более распространенных портов SFP+ и QSFP. Следовательно, найти поставщика, который все еще предлагает эти трансиверы, может быть непросто.
Поскольку наша зависимость от интернета растет, растет и потребность в надежных, высокоскоростных соединениях. Это привело к значительному увеличению количества оптоволоконных кабелей, основанных на высокоскоростных оптических приемниках. Как результат, новые форм-факторы, такие как SFP+, QSFP+, QSFP28 и QSFP-DD, приобретают все большую популярность и доминируют на рынке.
Классификация по скорости передачи трансивера по скорости передачи
Скорость передачи - это количество битов, передаваемых в секунду. Единицей измерения скорости передачи является Мбит/с (мегабит в секунду) или Гбит/с (гигабит в секунду). В зависимости от скорости передачи, оптоволоконные приемники подразделяются на следующие типы:
- 100BASE SFP: Обычно обозначает скорость 100 Мбит/с и 155 Мбит/с. Большинство устройств было модернизировано до скорости 1G или выше. Поэтому очень мало поставщиков все еще предлагают этот тип.
- 622M SFP: Специальный для оборудования SDH/SONET. Подобно вышеупомянутому типу, мало кто из производителей предлагает этот тип.
- 1000BASE SFP: Также известный как 1G или Gigabit, это самый популярный трансивер в передаче данных и имеет самый большой выбор поставщиков.
- 2G SFP: включает волоконный канал 2G и скорость 2,5G, подходит для 2х FC SAN коммутаторов и устройств SDH/SONET.
- 3G SFP: Включает скорость 2,97G и 3,07G, подходит для передачи видео, CPRI (Common Public Radio Interface), OBSAI (Open Base Station Architecture Initiative)
- 4G SFP: скорость 4.25G, подходит для 4x FC SAN-коммутатора SAN-коммутатора
- 6G SFP: скорость 6,14 Гбит/с, подходит для приложений CPRI (Common Public Radio Interface) или OBSAI (Open Base Station Architecture Initiative)
- 8G SFP: скорость 8,5 Гбит/с, подходит для 8x FC SAN-коммутаторов
Классификация по типам волокон
Оптические волокна делятся на одномодовые (SMF) и многомодовые (MMF). Как следствие, оптические приемники также делятся на одномодовые и многомодовые для работы с различными оптическими волокнами.
- Одномодовые приемники обычно имеют расстояние передачи от 10 км до 160 км. Они работают на типичной центральной длине волны 1310 нм, 1490 нм или 1550 нм в одномодовом волокне. Поэтому они подходят для передачи данных на большие расстояния или с большой пропускной способностью.
- Многомодовые приемники используются для более коротких расстояний передачи от 0,5 км до 2 км. Они работают на длине волны 850 нм по многомодовому волокну, что делает их пригодными для недорогой передачи на короткие расстояния.
Классификация трансиверов по применению
- Обычный SFP. Чаще всего это передатчик с дуплексным волокном. Если не указано, когда кто-то говорит о SFP-модуле, это относится к этому типу.
- CWDM SFP: поддержка передачи CWDM для улучшения пропускной способности в одном волокне.
- DWDM SFP поддерживает передачу DWDM для максимизации пропускной способности при сохранении волоконного кабеля
- BiDi SFP: двунаправленный трансивер для передачи и приема в симплексном волокне.
- SDH/SONET SFP: основная скорость, включая 155 Мбит/с, 622 Мбит/с и 2,5 Гбит/с, подходит для платформы SDH/SONET.
- Fiber Channel SFP охватывает скорость 1G, 2G, 4G и 8G, в основном используется в сети хранения данных.
- Video SFP. Поддержка HD-SDI/3G-SDI/6G-SDI/12G-SDI, ориентированная на рынок передачи видео.
- PON SFP включает GPON и EPON, стандарты для пассивных оптических сетей, в основном для применения FTTX.
- Кабель SFP: Это прямой кабель с разъемом SFP на двух концах, дешевое решение для очень короткой длины.
По типу разъема
- LC SFP. Является разъемом по умолчанию для большинства SFP трансиверов
- SC SFP. Некоторые приемники имеют разъемы SC, но это крайне редкий экземпляр.
- RJ45 SFP. Этот трансивер имеет гнездовой разъем RJ45 для подключения сетевого кабеля.
По расстоянию SFP разделяют
- SFP T включает 100BASE-T, 1000BASE-T, 2,5GBASE-T, 5GBASE-T, типичное расстояние 100 м по кабелю Cat5.
- SFP SX означает короткий радиус действия. Определен в стандарте IEEE 802.3z; 1000base-SX достигает 550 м по многомодовому волокну. Типичная длина волны 850 нм.
- SFP LX означает расширенный радиус действия. Он определен в IEEE 802.3z, 1000BASE-LX достигает 10 км по одномодовому волокну. Типичная длина волны 1310 нм.
- SFP EX тоже имеет расширенный радиус действия. Определен в стандарте IEEE 802.3z. 1000BASE-EX достигает 40 км по одномодовому волокну. Типичная длина волны 1310 нм.
- SFP ZX. Определенный в IEEE 802.3z, 1000BASE-ZX достигает 70 км (или 80 км) по одномодовому волокну.
- SFP EZX не является стандартным типом, но определяется некоторыми производителями и принимается большинством клиентов. «E» расшифровывается как Extend, что означает, что это расширенный трансивер с большим радиусом действия. С длиной волны 1550 нм максимальное расстояние может достигать 120 км или даже 160 км.
- SFP BX относится к двунаправленному (BiDi) SFP-трансиверу. Типичное расстояние передачи может составлять от 10 км до 80 км. Он использует технологию WDM для передачи двух длин волн по одному волокну. BX обычно содержит BX-U (восходящий поток) и BX-D (нисходящий поток), и каждое направление использует противоположную длину волны.
Основные параметры оптического приемника
- Скорость передачи данных: количество битов, передаваемых в секунду.
- Расстояние передачи: максимальное расстояние, на которое могут передаваться оптические сигналы. Сигналы, отправленные от разных типов источников, могут передаваться на разные расстояния из-за негативных эффектов оптических волокон, таких как дисперсия и затухание. Выбирайте оптические модули и волокна при подключении оптических интерфейсов, исходя из максимального расстояния передачи сигнала.
- Длина волны представляет собой диапазон волн для передачи оптического сигнала. В настоящее время существует в основном три основных длины волн для стандартных оптоволоконных приемо-передающих модулей: 850 нм, 1310 нм и 1550 нм, соответственно, представляющие три диапазона волн.
- Оптическая мощность передачи: выходная оптическая мощность оптического приемника, когда он работает должным образом. При соединении двух оптических приемников, оптическая мощность передачи на одном конце должна быть в пределах диапазона оптической мощности приема на другом конце.
- Чувствительность приема: мощность, при которой приемник волоконно-оптического трансивера может принимать оптические сигналы в пределах диапазона коэффициента битовых ошибок (BER = 10-12), в дБм.
- Тип волокна. Параметры оптических волокон определяются на основе диаметра сердцевины и особенностей конструкции оптических волокон. Оптические волокна делятся на одномодовые (SMF) и многомодовые (MMF). Многомодовые волокна имеют большой диаметр сердцевины и могут передавать свет в нескольких режимах. Однако межмодовая дисперсия больше, поэтому они используются для передачи оптических сигналов на короткие расстояния. Одномодовые волокна (SMF) имеют небольшой размер сердцевины и могут передавать свет только в одном режиме с небольшой дисперсией, поэтому они могут передавать оптические сигналы на большие расстояния.
- Тип разъема. Это об интерфейсе на оптическом приемнике для подключения оптоволокна. Самые распространенные типы разъемов: разъем LC (применяется к приемникам QSFP, SFP, SFP+, SFF и XFP), разъем SC (применяется к приемникам BIDI SFP, GBIC, X2, XENPAK и 1×9), разъем ST и FC (применяется к приемникам 1×9) и разъем MPO (применяется к модулям QSFP+, SR4 и CXP).
- Коэффициент затухания: минимальное отношение средней оптической мощности с передаваемыми сигналами к средней оптической мощности без сигналов, передаваемых в режиме полной модуляции. Коэффициент затухания указывает на способность оптического модуля идентифицировать сигнал 0 и сигнал 1. Этот параметр является показателем качества для волоконно-оптических приемников.
Порт SFP vs XFP vs QSFP28, в чем разница?
Порт SFP - это самый распространенный способ подключения. Однако мы также можем называть высокоскоростной порт SFP как порт SFP+, например, со скоростью передачи данных 8 Гбит/с, 10 Гбит/с и 16 Гбит/с.
Порт SFP28 поддерживает скорость передачи данных 25 Гбит/с, но имеет такой же вид и размеры, как и порт SFP. Иногда он совместим с портом SFP+ и поддерживает скорость 10 Гбит/с; это зависит от настроек производителя коммутатора.
Порт XFP - это физический слот, который принимает плагины модулей XFP. Он предназначен только для трансиверов XFP 8G и 10G, но не поддерживает другие скорости.
Порт QSFP28 предназначен в первую очередь для гораздо более высокой скорости 100 Гбит/с. В отличие от порта SFP, он поддерживает более высокоскоростные трансиверы и имеет больший размер и больше контактов на разъеме.
Другими словами, порты SFP, SFP+ и SFP28 имеют одинаковый размер и относятся к одному и тому же, за исключением скорости поддержки. Порт QSFP28 бывает разных типов и подходит для коммутаторов центров обработки данных на 100 Гбит/с.
Порт SFP vs RJ45
В реальном мире некоторые сетевые коммутаторы имеют как порты RJ45, так и порты SFP с одинаковой скоростью. Поскольку они имеют одинаковые функции, в чем преимущества порта SFP? В чем их фактическая разница?
Порт RJ45 поддерживает только медный сетевой кабель, обеспечивая минимальное расстояние соединения. Максимальная длина линии со скоростью 1 Гбит/с по кабелю Cat5 составляет около 100 метров. Этого недостаточно для подключения к коммутатору для более длинного соединения. Однако вы можете достичь десятков километров или даже 160 ~ 180 км по одномодовому волокну. Это и есть реальная разница в производительности.
Помимо различных поддерживаемых расстояний, SFP также позволяет избежать электрических помех и изоляции от перенапряжения, снизить энергопотребление и общую стоимость.
Как правильно выбрать подходящий SFP модуль
- Проверьте скорость, которую поддерживает порт вашего коммутатора (или другого сетевого устройства), и подберите соответствующий SFP.
- Узнайте, какие типы сетевых кабелей используются в вашей сети. Если у вас многомодовая оптоволоконная кабельная структура, выбирайте многомодовый SFP. Одномодовый трансивер - единственный выбор, если у вас одномодовый оптоволоконный кабель.
- Рассчитайте целевое расстояние линии связи и бюджет линии связи. Но помните, что нужно выбирать модули, которые поддерживают большие расстояния передачи, чем ожидается. В противном случае некачественный оптоволоконный кабель или грязная торцевая поверхность волокна могут привести к сбою соединения.
- Учитывайте рабочую температуру и условия эксплуатации. Для типичной внутренней среды достаточно использовать SFP трансивер коммерческого класса. В суровых внешних условиях следует использовать промышленный трансивер.
- Не забудьте проверить совместимость с поставщиком перед заказом. Поскольку коммутатор не определит несовместимый трансивер, вы зря потратите деньги и время. Поэтому всегда используйте известный совместимый трансивер.
Надеюсь, вам понравилось мое руководство по SFP. Теперь вы знаете их обозначения и различные типы.
